|
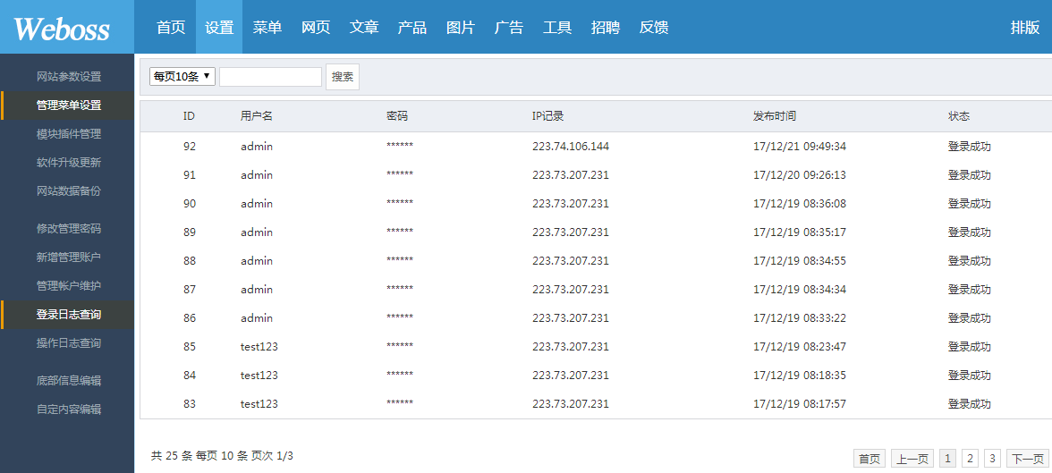
PHPWEB安全审计功能/登陆记录/操作记录/提高安全性
¥1,000.00
3038次关注 简介:PHPWEB安全审计功能,全站后台操作记录,全方面无死角,提高安全性,政企单位必备功能!
订购数量:
件
|
phpweb安全审计功能/登陆记录/操作记录/提高安全性
淘宝客服ID:wingjslm
经理QQ:510551 业务客服QQ:595542
诚招代理加盟,与福同享,互利共赢
手机电话:15915834798(吴先生)咨询热线:18926129998
效果图:


选择模板建站的理由
-
快速交付
1个工作日交付精美网站
挑选一套最适合您的模板,再选择一款主机,我们会在当天安装调试交付给您,让您尽快操作后台开始生意。
-
精美模板
几百套精美模板任您选
PHPWEB草莓互联的模板追求质量与细节,代码最优,功能最强,细节把握最精致,目前已经拥有了上百套各行业精品模板任您选。
-
个性化调整
模板并非人人一样
您可以给我们提交您的想法,我们的资深技术人员会为您做一些与众不同的调整,我们也会给出最合理的工期与修改费用。
-
功能齐全
拥有最为全面的网店功能
phpweb系统拥有最为全面的企业展示功能,包括会员管理,订单管理,模板管理,系统设置,并整合了业内主流的配送方式,支付方式,安装即用。
-
维护简单
人性化的后台管理
设置模板,设置分类,添加产品,替换广告,几乎所有操作都在后台管理。人性化的后台操作让你上手更简单。
-
第三方应用
集成众多第三方应用
流量统计,网页分享,快捷登陆,在线客服qq,msn,旺旺等都可以接入整合。
-
SEO优化
提升网站搜索排名
可以针对全网站或单个产品和文章进行关键词设置,实现seo优化,提升网站搜索排名。
-
售后服务
PHPWEB草莓互联品牌保障
强大的售后服务团队,为您提供全方位的售后服务,保障您网站的维护与运行。
| 买家 | 宝贝名称 | 价格 | 购买数量 | 成交时间 | 状态 |






